Thursday, 6 December 2018

Cylindrical Robot

Cylindrical Robot Pictures

1 Inverse Kinematics - Columbia University
As in cylindrical robot, there are multiple solutions. To get the second solution, find the point on the sphere directly opposite where the manipulator is (if at P x ,P y ,P z choose −P x ,−P y ,−P z ). ... Read Here

Cylindrical Robot

International Journal Of Artificial Intelligence ...
Robot is rectangular, cylindrical, spherical, or jointed spherical. Finally, a robot may be classified as low-, medium-, or high-tech, based on its number of axes and its level of ... Access Doc

Pictures of Cylindrical Robot

Comparative Study Of The Linear And Angular Response Of ...
Parameters of the cylindrical robot manipulator, as function of input parameters – usually loads applied to it- was established, involving the use of software packages, such as MATLAB®, as a faster alternative to model the behavior of the system, through the programming of the systems equations into a code program that ... Content Retrieval

Cylindrical Robot Images

CSE 4392/5369 Robot Structures - CSE SERVICES
“Robot” (from the czech “robota”=slave) was coined in 1920 by Karel Capek in the play Rossum's Universal Robots. RIA Definition: A robot is a reprogrammable, multifunctional manipulator designed to move material, parts, tools, or specialized devices through variable programmable motions for the performance of a variety of tasks. ... Retrieve Doc

Cylindrical Robot Photos

Design And Simulation Of A Polar Mobile Robot
The robot was designed to provide mobility, power, precise positioning and environmental protection for a bistatic synthetic aperture radar for polar regions to measure ice thickness and other ice sheet characteristics. ... Return Doc

Cylindrical Robot

Leaving Certificate Technology - T4
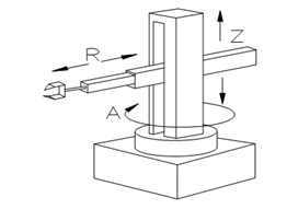
The work envelope defines the space around a robot that is accessible for the end effector or gripper. As a robot moves around the limits of its reaches it traces out a specific shape. The Cylindrical robot in the last image has a visible work area of a cylinder. A Cartesian robot sweeps out a rectangular volume, a polar a partial sphere. ... Fetch Content

Cylindrical Robot Pictures

Cylindrical Rolling robot (Silindirik Yuvarlanan robot) - YouTube
1x cylindrical wafer box or something like that (for the trunk of robot) 1x small jar lid (to cover one side of wafer box) 2x dc motor with gearboxes (you could find them in most of the toys, i ... View Video

Cylindrical Robot Pictures

Oculus Touch Controller Review: Let Your Fingers Do The Grabbing
The wait may pay off in the long run, as the Oculus Touch controllers sport best-in-class comfort, excellent tracking, and a number of intriguing, exclusive games to show off that potential. ... Read News

Images of Cylindrical Robot

Neural Network-Based Adaptive Control Of Robotic Manipulator ...
And rotational motion is called swing. Cylindrical geometry robots have a cylindrical work envelope, the advantages of this type of work envelope is a robot arm reach its deep at both the top and bottom of the stroke. Additionally, the robot structure allows for quick movements with ... Access Content

Cylindrical Robot Photos

China Preps For Launch Of Historic Mission To Moon's Far Side On Friday
China is getting set to launch the first-ever surface mission to the moon's far side. The robotic Chang'e 4 mission is scheduled to launch atop a Long March 3B rocket on Friday (Dec. 7) at around ... Read News

Pictures of Cylindrical Robot

ROBOTICS IN THE CONSTRUCTION INDUSTRY U I
I 3 3.5 successful robot implementation .. . 42 chapter four - economic considerations of robotics • 44 4.1 general .. 44 4.2 economic'evaluation techniques'and'models 44 4.3 cost and benefit analysis .. ... Read Content

Images of Cylindrical Robot

Notice To Terminate - DENSO Robotics: Robot Arms & Small ...
Tightening Robot TA-4*B (*) (*) - (*) The supply parts and repair services will be terminated in 2015. 2. Support after the termination of the supply parts sales and the maintenance services Please be advised that we will terminate the sales of the supply parts and the maintenance services by the end of September 2013. ... View Document

Container - Wikipedia
A container is any receptacle or enclosure for holding a product used in storage, packaging, and shipping. Things kept inside of a container are protected by being inside of its structure. The term is most frequently applied to devices made from materials that are durable and are usually at least partly rigid . ... Read Article

Cylindrical Robot Images

Coordinate Frames - W3.cs.jmu.edu
Coordinate Frames 0.1 Introduction A key requirement in robotics programming is keeping track of the positions and velocities of objects in space. For example, consider the situation in Figure 1. This robot has been asked to nd the blue teapot and report its position to a remote user. The robot’s vision system has detected the teapot directly in ... Access Doc

Photos of Cylindrical Robot

Elementary Robotics - University Of California, Irvine
Called a SCARA robot for Selective Compliant Articulated Robot for Assembly. The RPR is called a cylindrical robot, and the PPR is called a Cartesian robot. The forward and inverse kinematics equations of the robot are the primary mathematical tools that are used to program its movement.. ... Return Document

Cylindrical Robot Pictures

2002 Obstacle Evaluation Of The Configuration Space For ...
Proceedings of the 2002 IEEEIRSJ Intl. Conference on Intelligent Robots and Systems EPFL, Lausanne, Switzerland October 2002 Obstacle Evaluation of the Configuration Space for Cylindrical ... Doc Retrieval

Pictures of Cylindrical Robot

Robot Kinematics: Forward And Inverse Kinematics - InTech
Robot Kinematics: Forward and Inverse Kinematics Serdar Kucuk and Zafer Bingul 1. Introduction Kinematics studies the motion of bodies without consideration of the forces or moments that cause the motion. Robot ki nematics refers the analytical study of the motion of a robot manipulator. Fo rmulating the suitable kinematics mod- ... Get Doc

Images of Cylindrical Robot

Module: Robotics - Stars
In addition, the students will be able to identify different types of robot, joins and mechanism. This will also give the student the basic knowledge of robotics design and understand the benefits and advantages of robots. Lesson Background. The components to build a robot are numerous and according to each . physical configuration . they can ... Content Retrieval

Images of Cylindrical Robot

Introduction Robotics Lecture - Day 3 Out Of 7.ppt
Function of displacements in robot joints. Introduction Robotics, lecture 3 of 7. 7/39 DH convention for homogenous transformations (1/2) • An arbitrary homogeneous transformation is based on 6 independent variables: 3 for rotation + 3 for translation. ... Retrieve Here

Cylindrical Robot Images

D-H Representation, Forward And Inverse Kinematics
In any coordinates, such as Cartesian, cylindrical, spherical, Euler, and RPY. Although the direct modeling of simple robots such as cylindrical robot, spherical robot and articulated robot are faster and more straightforward, the D-H representation is very useful in modeling configurations of general robots. ... Read Full Source

No comments:

Post a Comment